براءة اختراع تكشف عن شاحن AirPods جديد يمكن ارتداؤه سوارا حول معصمك
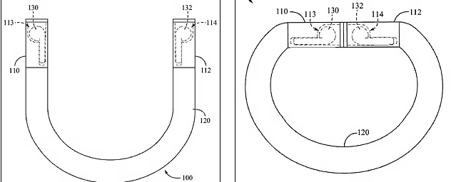
يمكن لشركة أبل إطلاق تصميمات جديدة لوضع شحن AirPods الخاصة بها، حيث حصل عملاق التكنولوجيا على براءة اختراع جديدة تصف مصدر الطاقة بأنه سوار حول المعصم أو حلقة مفاتيح، ويعرض المستند صورًا لحالة مرنة على شكل حرف U يضع فيها المستخدمون سماعات AirPods على كل جانب ويغلقون الجهاز.
سوار الشحن وفقا لما ذكرته صحيفة "ديلى ميل" البريطانية، قالت شركة أبل إن السبب وراء التجديد هو أن بعض الأنشطة لا تسمح باستخدام العلب أو المحافظ لتخزين جهاز إلكتروني، كما هو الحال عند ممارسة الرياضة. وجاء في نص براءة الاختراع بعنوان "ملحقات سماعة الرأس اللاسلكية": "ملحقات الأجهزة الإلكترونية المحمولة التي تحتوي على ميزات للاحتفاظ بالجهاز الإلكتروني المحمول للمستخدم عادةً ما تكون ضخمة وقد تكون غير مريحة، أو قد لا توفر بعض الميزات المرغوبة، مثل إمكانات الشحن".
براءة الاختراع على شكل ميدالية ويمكن أن تكون التحسينات والتطورات في ملحقات الأجهزة الإلكترونية مرغوبة للاحتفاظ بالجهاز الإلكتروني بشكل موثوق به في شكل مناسب مع توفير الميزات الأخرى المرغوبة. سيكون شكل العلبة مرنًا أو قابلًا للانحناء، لكن براءة الاختراع لا توفر المواد التي ستستخدمها. سيشمل النصف الأول بطارية مرنة والآخر ملف يعد نوع من نقل الطاقة لاسلكيًا. وعلى عكس علبة شحن AirPods الحالية، سيتم وضع عناصر التحكم في مستوى الصوت في الخارج وتشغيلها بضغطة إصبع. سيكون هذا هو القسم الوحيد غير المرن، تصف براءة الاختراع أنه منطقة "جامدة"، وتقترح براءة الاختراع أيضًا وضع مغناطيس في كل طرف لإغلاق الحلقة في دائرة، وبالتالي يمكن ارتداؤها كسوار أو سلسلة مفاتيح.





